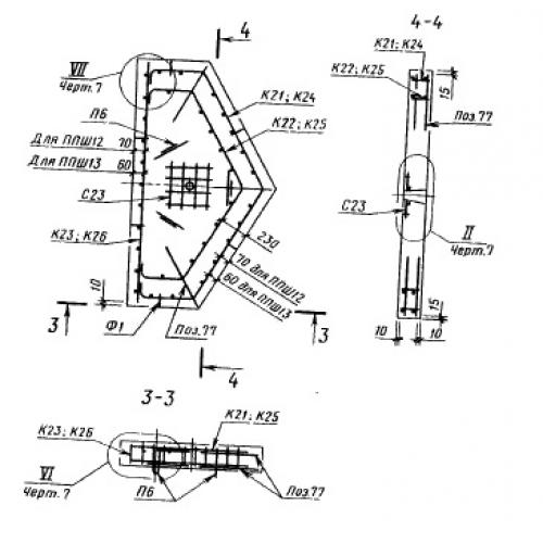
1ППШ 13-30

Чертеж изделия:
Характеристики изделия:
ПараметрЗначение
длина2150 мм
ширина1235 мм
высота180 мм
масса900 кг
нормативный документГОСТ 21924.1(2)-84

ППШ 13   Плиты дорожные шестиугольные осевые поперечные ГОСТ 21924.1(2)-84.