1Д 23.39

Чертеж изделия:
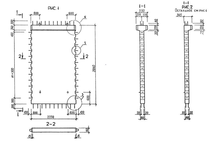
Характеристики изделия:
ПараметрЗначение
длина2490 мм
ширина345 мм
высота4340 мм
масса3440 кг
нормативный документСерия 1.020.1-3пв

1Д 23.39  Диафрагмы жесткости с одной полкой Серия 1.020.1-3пв.