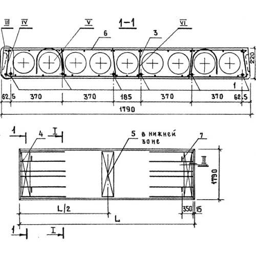
ПК 51.18 Плиты перекрытия железобетонные многопустотные

Чертеж изделия:
Характеристики изделия:
ПараметрЗначение
длина5080 мм
ширина1790 мм
высота220 мм
масса2700 кг
нормативный документСерия 1.141-1

ПК 51.18  Плиты перекрытия железобетонные многопустотные Серия 1.141-1.