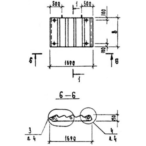
ЛМ 17.12.9 лестничные марши

Чертеж изделия:
Характеристики изделия:
ПараметрЗначение
длина1690 мм
ширина1200 мм
высота900 мм
масса930 кг
нормативный документСерия 1.151.1-7

ЛМ 17.12.9  Лестничные марши без фризовых ступеней Серия 1.151.1-7.