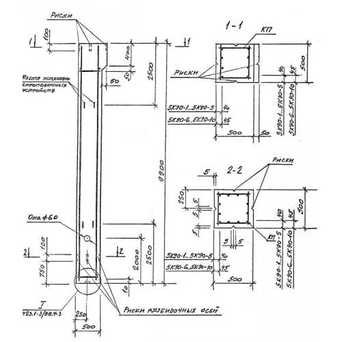
5К 90 колонны

Чертеж изделия:
Характеристики изделия:
ПараметрЗначение
длина9900 мм
ширина600 мм
высота500 мм
масса6200 кг
нормативный документСерия 1.423.1-3/88

5К 90   Колонны Серия 1.423.1-3/88.