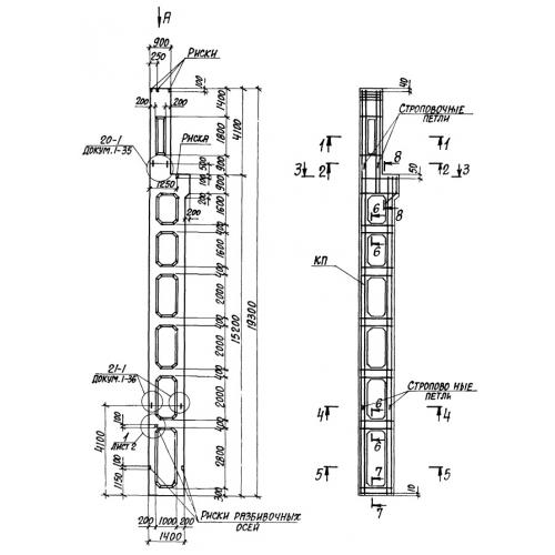
КДП 180 колонны крайние

Чертеж изделия:
Характеристики изделия:
ПараметрЗначение
длина19300 мм
ширина500 мм
высота1400 мм
масса16000 кг
нормативный документСерия 1.424.1-10

КДП 180   Двухветвевые колонны с проходом (крайние) Серия 1.424.1-10.