Лу 30/2 лотки угловые

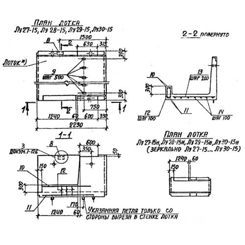
Чертеж изделия:
Характеристики изделия:
ПараметрЗначение
длина2230 мм
ширина2780 мм
высота1660 мм
масса5950 кг
нормативный документСерия 3.006.1-2/87

Лу 30/2  Лотки теплотрасс угловые Серия 3.006.1-2/87.