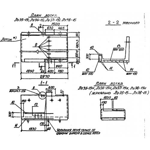
Лу 37/2 лотки угловые

Чертеж изделия:
Характеристики изделия:
ПараметрЗначение
длина2970 мм
ширина4000 мм
высота1400 мм
масса8000 кг
нормативный документСерия 3.006.1-2/87

Лу 37/2  Лотки теплотрасс угловые Серия 3.006.1-2/87.