К 6
Характеристики изделия:
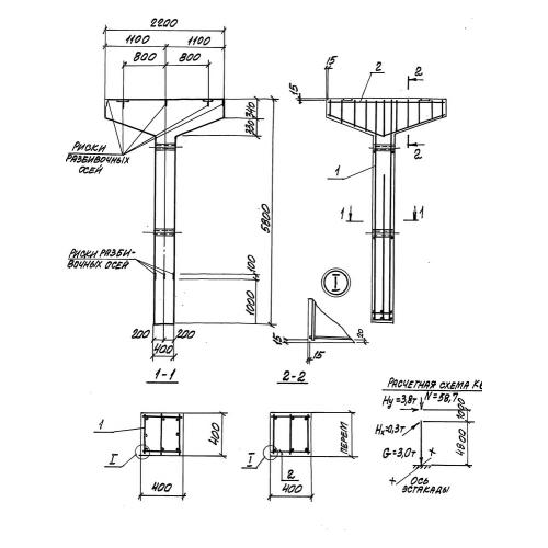
| Параметр | Значение |
|---|---|
| длина | 5800 мм |
| ширина | 2200 мм |
| высота | 400 мм |
| вес | 3100 кг |
| серия | 3.016.1-17.93 |
Цена:
Рассчитать стоимостьК 6 Колонны по серии 3.016.1-17.93.
| Параметр | Значение |
|---|---|
| длина | 5800 мм |
| ширина | 2200 мм |
| высота | 400 мм |
| вес | 3100 кг |
| серия | 3.016.1-17.93 |
К 6 Колонны по серии 3.016.1-17.93.
