БЭ

Чертеж изделия:
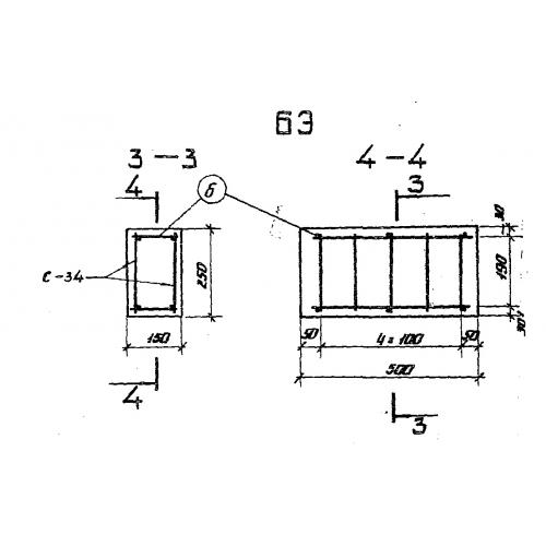
Характеристики изделия:
ПараметрЗначение
длина500 мм
ширина250 мм
высота150 мм
вес50 кг
серия3.501-68

БЭ Блоки экрана по серии 3.501-68.