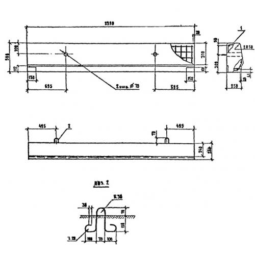
ББ 35 блок бордюрный

Чертеж изделия:
Характеристики изделия:
ПараметрЗначение
длина2990 мм
ширина500 мм
высота280 мм
вес960 кг
серия3.503.1-81

ББ 35 Блоки тротуарные (бордюрные) по серии 3.503.1-81.