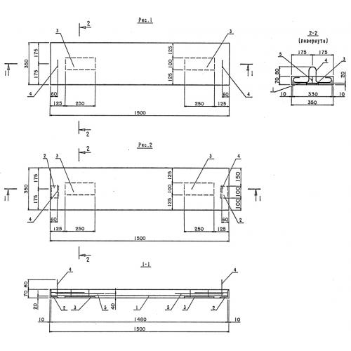
СЛ 150.35.7 Блоки ступеней лестничных сходов

Чертеж изделия:
Характеристики изделия:
ПараметрЗначение
длина1500 мм
ширина350 мм
высота70 мм
вес93 кг
нормативный документСерия 3.503.1-96

СЛ 150.35.7 Ступени лестничных сходов по Серии 3.503.1-96.