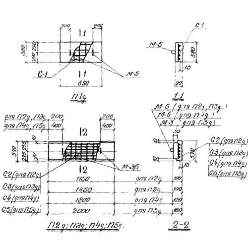
П 2 д плиты перекрытия

Чертеж изделия:
Характеристики изделия:
ПараметрЗначение
длина590 мм
ширина1150 мм
высота100 мм
масса180 кг
нормативный документСерия ИС 01-04

П 2 д  Плиты перекрытия доборные по Серии ИС 01-04.