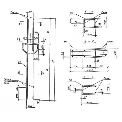
КК 96

Чертеж изделия:
Характеристики изделия:
ПараметрЗначение
длина10650 мм
ширина400 мм
высота2100 мм
вес8800 кг
Шифр2021-164.1

КК 96 Колонны по Шифру 2021-164.1.