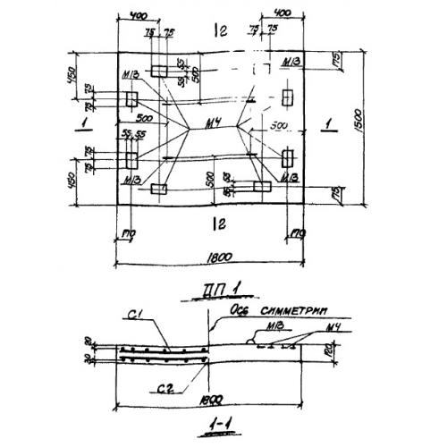
ДП 1

Чертеж изделия:
Характеристики изделия:
ПараметрЗначение
длина1800 мм
ширина1500 мм
высота120 мм
вес800 кг
серияТП 905-7

ДП 1 Плиты днища прямоугольные по проекту ТП 905-7.